Номенклатура каталога постоянно дополняется, и не всегда объективно отражает фактическую.
Наличие и стоимость уточняйте у инженеров!
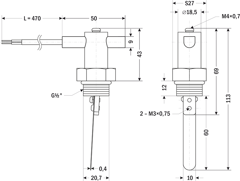
Датчик-реле потока лепестковый ДР-П-05-15
Товар дня
Успей купить
Цена:
3 198 руб.
3 198 руб.
экономия
0 руб.
Доставка
- Идёт загрузка...
Описание
Датчик-реле потока (реле протока) лепестковый ДР-П-05-15 предназначен для контроля потока неагрессивных жидкостей, таких как вода, этиленгликоль и др. Прибор устанавливается в тройник трубопровода.
Данное устройство применяется для определения наличия или отсутствия потока жидкости и управления исполнительным механизмом в различных системах автоматики, например, для защиты насосов от «сухого» хода, в цепях аварийно-предупредительной сигнализации, в системах охлаждения жидкостей, жидкостных насосах, конденсаторах, системах горячего водоснабжения и других типах промышленного оборудования.
Особенности:
Внутри корпуса установлен подпружиненный с одной стороны язычок. На верхнем конце язычка установлен магнит, в нижнем конце язычка закрепляется лепесток, который является чувствительным элементом. Поток жидкости отклоняет лепесток, изменяя положение магнита.
Настройка логики работы (НО/НЗ) и установка порога срабатывания осуществляется перемещением нейлоновой гильзы с герконом по сквозному отверстию в верхней части корпуса. Для этого на лепесток прибора подается поток необходимой (отслеживаемой) величины, гильза сдвигается до момента срабатывания и фиксируется стопорным винтом.
Для увеличения коммутационной способности датчика-реле следует использовать промежуточные реле, например, MY, 55-02, 55-04, LY4 c током потребления не более 300 мА. Для питания катушки промежуточного реле необходимы блоки питания, например, DR, MDR, БП97, БП67, или питание от сетевого источника ~220 В.

Для защиты прибора от попадания инородных частиц рекомендуется установить фильтр механической очистки перед датчиком-реле. Для герметизации резьбовых металлических соединений рекомендуется использовать анаэробные герметики.
Данное устройство применяется для определения наличия или отсутствия потока жидкости и управления исполнительным механизмом в различных системах автоматики, например, для защиты насосов от «сухого» хода, в цепях аварийно-предупредительной сигнализации, в системах охлаждения жидкостей, жидкостных насосах, конденсаторах, системах горячего водоснабжения и других типах промышленного оборудования.
Особенности:
- В комплекте 1 лепесток из нержавеющей стали (min Ду трубы ½" при установке через удлинитель). При необходимости можно купить сменный лепесток отдельно.
- Удобное изменение логики срабатывания (НО или НЗ) и порога срабатывания реле перемещением нейлоновой гильзы с герконом
- Простой монтаж
Внутри корпуса установлен подпружиненный с одной стороны язычок. На верхнем конце язычка установлен магнит, в нижнем конце язычка закрепляется лепесток, который является чувствительным элементом. Поток жидкости отклоняет лепесток, изменяя положение магнита.
Настройка логики работы (НО/НЗ) и установка порога срабатывания осуществляется перемещением нейлоновой гильзы с герконом по сквозному отверстию в верхней части корпуса. Для этого на лепесток прибора подается поток необходимой (отслеживаемой) величины, гильза сдвигается до момента срабатывания и фиксируется стопорным винтом.
Для увеличения коммутационной способности датчика-реле следует использовать промежуточные реле, например, MY, 55-02, 55-04, LY4 c током потребления не более 300 мА. Для питания катушки промежуточного реле необходимы блоки питания, например, DR, MDR, БП97, БП67, или питание от сетевого источника ~220 В.

Для защиты прибора от попадания инородных частиц рекомендуется установить фильтр механической очистки перед датчиком-реле. Для герметизации резьбовых металлических соединений рекомендуется использовать анаэробные герметики.
Характеристики
Бренд:
ARCOM
Характеристики:
Версия: 2023-12-29-ЛВС
| Параметр | Значение |
| Рабочая среда | Вода, этиленгликоль и другие неагрессивные жидкости |
|
Максимальное давление рабочей среды |
1,2 МПа |
| Температура рабочей среды | 0…+100°С |
| Расход | 3,5...12 л/мин |
| Реле | ≅0,3 А, 250 В |
|
Мощность |
70 Вт |
|
Сопротивление изоляции |
108 Ом |
|
Ресурс работы |
≥108 циклов |
|
Время переключения |
0,35 мс |
|
Степень пылевлагозащиты |
IP67 |
| Материал | Корпус - латунь, гильза - нейлон |
|
Материал корпуса |
Латунь |
| Материал лепестков | Нержавеющая сталь |
|
Присоединение |
Наруж. G½" |
| Длина провода | 470 мм |
| Размеры без лепестков (В×Ш×Г) | 69×50×27 мм |
|
Размеры лепестка (В×Ш) |
60×10 мм |
|
Вес без лепестка |
115 г |
|
Габаритный чертеж |
|
Версия: 2023-12-29-ЛВС












